

第1页 / 共19页

第2页 / 共19页
试读已结束,还剩17页,您可下载完整版后进行离线阅读
THE END
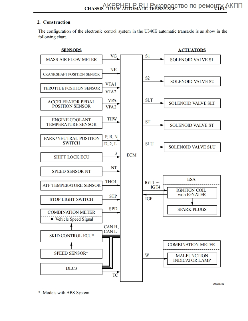
CH-16CHASSIS.U3SKPBOACTBO no peMoHTy AKnnELECTRONIC CONTROL SYSTEM1.GeneralThe electronic control system of the U340E automatic transaxle consists of the controls listed below.SystemFunctionClutch PressureControls the pressure that is applied directly to B brake and C clutch byControlactuating the solenoid valves(ST,SLT)in accordance with the ECM signals.(See page CH-20)The solenoid valve SLT minutely controls the clutch pressure in accordancewith the engine output and driving conditions.Line PressureControlActuates the solenoid valve SLT to control the line pressure in accordance with(See page CH-21)information from the ECM and the operating conditions of the transaxle.Shift Control inUphill/DownhillControls to restrict the 4th upshift or to provide appropriate engine braking byTravelingusing the ECM to determine whether the vehicle is traveling on uphill or downhill.(See page CH-22)Shift TimingThe ECM sends current to the solenoid valve S1 and/or S2 based on signals fromControleach sensor and shifts the gear.Flex Lock-upControls the solenoid valve SLU,provides an intermediate mode between theClutch ControlON/OFF operation of the lock-up clutch,and increases the operating range of the(See page CH-23)lock-up clutch to ensure fuel economy.Lock-up TimingThe ECM sends current to the solenoid valve SLU based on the signals from eachControlsensor and engages or disengages the lock-up clutch.Engine TorqueTemporarily retards the engine ignition timing to restrict the output torque,thusControlensuring the shift feel during up or down shifting.N'to“D”SquatWhen the shift lever is shifted from the "N"to"D"position,the gear is temporarilyControlshifted to the 3rd and then to the Ist to reduce vehicle squat.DiagnosisWhen the ECM detects a malfunction,the ECM makes a diagnosis and memorizes(See page CH-24)the failed section.Fail-SafeEven if a malfunction is detected in the sensors or solenoids,the ECM effectsfail-safe control to prevent the vehicle's drivability from being affected(See page CH-24)significantly.
请登录后查看评论内容