

第1页 / 共60页

第2页 / 共60页

第3页 / 共60页

第4页 / 共60页

第5页 / 共60页

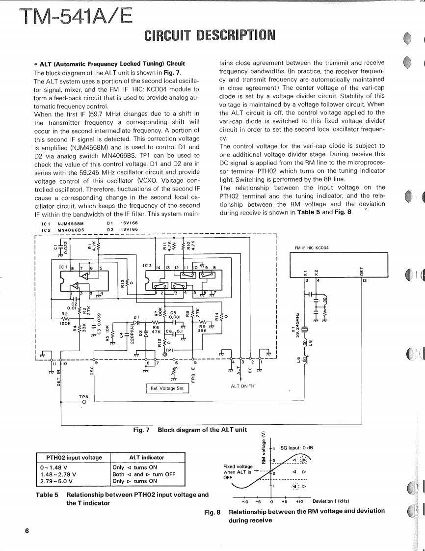
第6页 / 共60页

第7页 / 共60页

第8页 / 共60页

第9页 / 共60页

第10页 / 共60页
试读已结束,还剩50页,您可下载完整版后进行离线阅读
THE END
1200MHz FM TRANCEIVERTM-541AEKENWOODSERVICE MANUALC1990-9 PRINTED IN JAPANB51-8063-00(B)699Knob (VFO,MR,MHz)Metallic cabinet (UPPER)K27-3035-14(A01-1065-03)Microphone"T91-Panel ass'y'A62-0005-13:TM-541AA62-0010-13:TM-541EKnob (LOW)K27-3067-04Knob (POWER)K27-3066-04)KENWOODt296.000r28■卫▣Knob (MAIN)Knob (VOL,SQLK29-3156-041K29-3157-04Knob (CALL)Knob (DR/DT)8 Pin Metal socket (MIC)K27-3068-04K27-3075-04(E06-0860-05)Knob (F)Knob (REV)(K27-3069-04)K27-3072-04Knob(SHIFT)Knob (TONE)K27-3074-04)K27-3071-04)Refer to parts list on page 15.CONTENTSCIRCUIT DESCRIPTION.......................2SCHEMATIC DIAGRAM.....................41DESCRIPTION OF COMPONENTS...........11TERMINAL FUNCTIONS....................45PARTS LIST ................................15BLOCK DIAGRAM..........................46EXPLODED VIEW.…28LEVEL DIAGRAM...........................48PACKING.…29DRU-1 (DIGITAL RECORDING UNIT)........49ADJUSTMENT.............................30DRU-1 (SCHEMATIC DIAGRAM)............54PC BOARD VIEWS/CIRCUIT DIAGRAMDTU-2(DTMFUNIT)........................56LCD ASS'Y(B38-0330-05)...34MC-44E (MULTI FUNCTIONAP℃(X59-3130-00)..35MICROPHONE)...........................58MIC AMP(X59-3610-00}.....35MC-44 DM/MC-44 DME (MULTI FUNCTIONALTX59-3510-00}...36MICROPHONE WITH AUTOPATCH.......59PLL(X58-3490-11..37MC-44 (MULTI FUNCTION MICROPHONE).60TX-RX UNIT (X57-371X-XX)................39TSU-6(CTCSS UNIT).......................61SPECIFICATIONS................BACK COVER
请登录后查看评论内容