

第1页 / 共65页

第2页 / 共65页

第3页 / 共65页

第4页 / 共65页

第5页 / 共65页

第6页 / 共65页

第7页 / 共65页

第8页 / 共65页

第9页 / 共65页

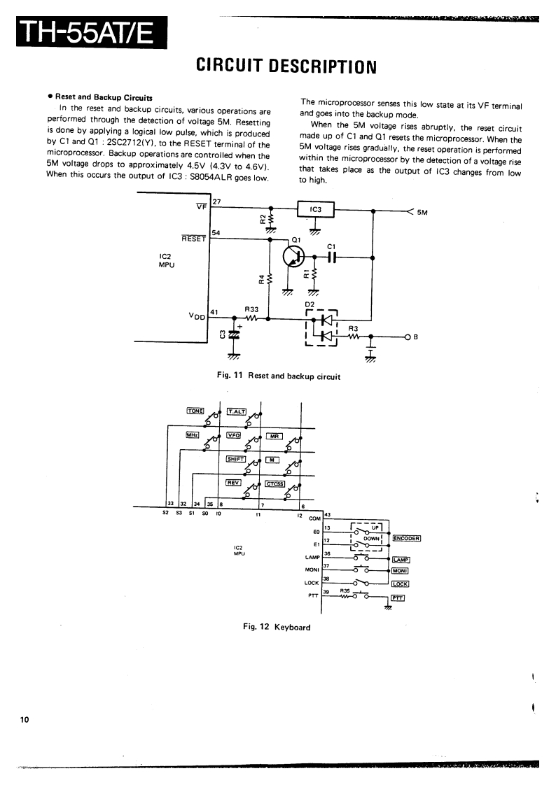
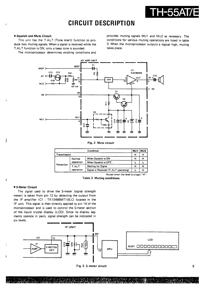
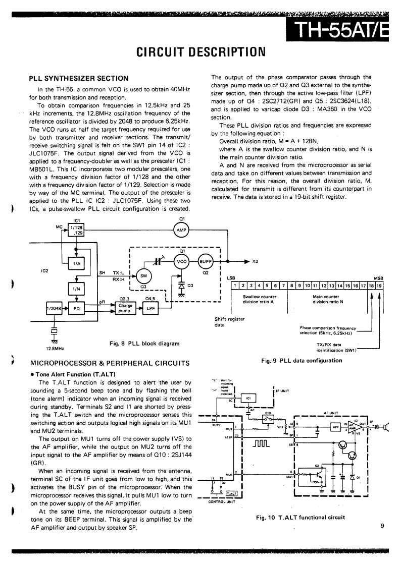
第10页 / 共65页
试读已结束,还剩55页,您可下载完整版后进行离线阅读
THE END
1H-55A1/ESERVICE MANUALC1988-2 PRINTED IN JAPANB51-3427-00(0)557CONTENTSDISASSEMBLY FOR REPAIR2CIRCUIT DESCRIPTIONSEMICONDUCTOR DATADESCRIPTION OF COMPONENTS.····,············PARTS LIST,,,,6DISASSEMBLY,·30PACKING,…3ADJUSTMENT32PC BOARD VIEWS/CIRCUIT DIAGRAMAVR UN1T(X433020-11).....,......·,.,.361FUN1T(X58-3210-01)MIC AMP UNIT (X58-3370-XX)318AF AMP UNIT (X58-3380-00)APC UNIT(X59-3420-00)4PLL UNIT(X58-3360-00]VC0UN1T(X59-3470-00)...SWITCH UNIT (X41-3070-XX)..4BPF UNIT(X59-3430-00)....SIGNALING UNIT (X52-3130-00)KENWOODCONTROL UNIT (X53-3150-XX)45,-1TTX-RXUN1T(X57-3250-XX).....·····SCHEMATIC DIAGRAM,,,,·,,,·······:4BLOCK DIAGRAMLEVEL DIAGRAM.2TERMINAL FUNCTIONS53BC-9(BATTERY CHARGER)BC-10(COMPACT CHARGER)BC-11 (RAPID CHARGER)......55BT-6 (AAA MANGANESE/ALKALINE BATTERY CASE)·,·,·.6DC-1 (DC ADAPTER).....HMC2(HEAD SET WITH VOX&PTT)..···,···66PB-5/6/7/8/9(Ni-Cd BATTERY).......·,··SC-17/18/19S0 FT CASE).............···,·····SMC-31(SPEAKER MICROPHONE)..,·····7TSU-6(CTCSS UNIT).,·,,,,,,.,·MB-5(MOBILE BRACKET).····73WR-1(WATERPROOF CASE)··,:·········73SPECIF1 CATIONS,,......···,,,BACK COVERPhoto is TH-55AT.
请登录后查看评论内容