

第1页 / 共33页

第2页 / 共33页

第3页 / 共33页

第4页 / 共33页

第5页 / 共33页

第6页 / 共33页

第7页 / 共33页

第8页 / 共33页

第9页 / 共33页

第10页 / 共33页
试读已结束,还剩23页,您可下载完整版后进行离线阅读
THE END
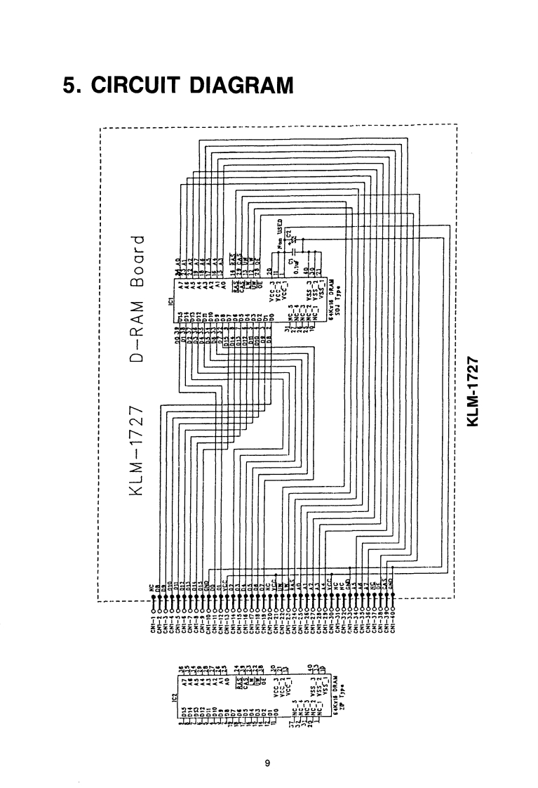
SERVICE MANUAL05R/WAI SYNTHESIS MODULECONTENTS1.SPECIFICATIONS22.STRUCTURAL DIAGRAM33.DlSASSEMBLY...........................44.BLOCK DIAGRAM….85.CIRCUIT DIAGRAM............9 and insertion6.P.C.BOARD............................107.DIAGNOSTIC TEST......................128.CHECK POINTS....229.REFERENCE DATA2510.PARTS LIST...9KORG
请登录后查看评论内容