Akai-AAV-205-维修电器原理图手册

Akai-AAV-205-维修电器原理图手册-找手册网
Akai-AAV-205-维修电器原理图手册
此内容为付费资源,请付费后查看
1921
立即购买
您当前未登录!建议登陆后购买,可保存购买订单
付费资源

第1页 / 共35页

第2页 / 共35页

第3页 / 共35页

第4页 / 共35页

第5页 / 共35页

第6页 / 共35页

第7页 / 共35页

第8页 / 共35页

第9页 / 共35页

第10页 / 共35页
试读已结束,还剩25页,您可下载完整版后进行离线阅读
THE END
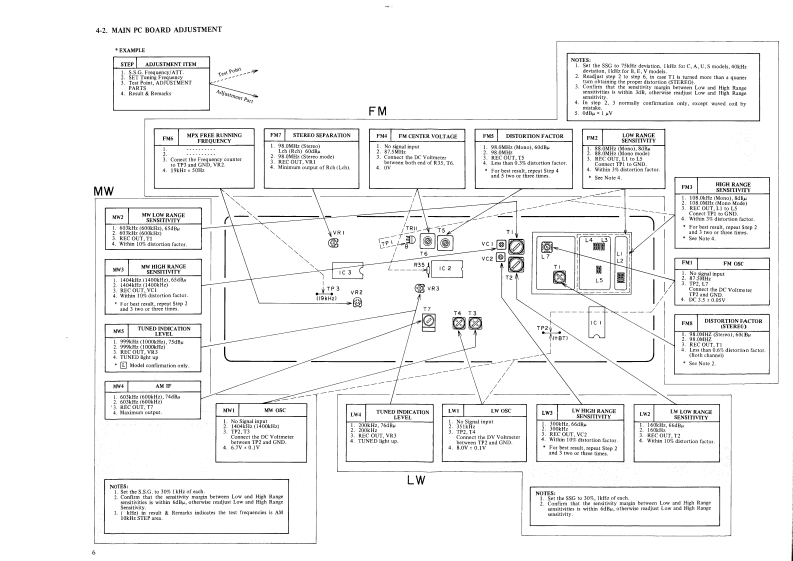
AKAI SERVICE MANUAL8888国回画卤回岗圆简COMPUTER CONTROLLED AUDIO VIDEO RECEIVERMODEL AA-V205SPECIFICATIONSAmplifier SectionTuner SectionPower outputFM TunerRated power outputTuning frequency range87.5MHz to 108.0MHz20Hz to 20 kHz60W/0.05%at8ohm3Usable sensitivity11.2dBfOutput power by FTCQuieting sensitivity (HF)16.2dBf (Mono)/37.2dBf (Stereo)20Hz to 20kHz60W/0.05%at 8 ohms(S/N=50dB)Output power by F.NormCapture ratio1.563Hz to 12.5kHz65WSelectivity (400kHz)......60dBOutput power by DINImage rejection85dB1kHz...65WIF rejection90d BMusic power(Both channels)280WSpurious rejection80dBPower bandwidthAM suppression..60dB(IHF-3dB,8 ohms)5Hz to 70kHz/0.5%Sub carrier suppression60dBS/N (IHF-A)S/N (IHF)75dB (Mono)/65dB (Stereo)PHONO75dBHarmonic distortion0.1%(Mono)/0.3%(Stereo)CO.TAPE·.98dBStereo separation (1kHz)45dBResidual noise(8 ohms)0.5mVFrequency response30Hzto15kHz±0.5dBChannel separation(HF,1kHz)65dBAM TunerDamping factorAM tuner sectionLW tuner section(1kHz,8 ohms)50(MW for AA-V205L)(for AA-V205L)Speaker impedanceTuning frequency rangeA or B8 to 16 ohmsUSA Canada530kHz to 1,610kHzA+B16 ohmsOther countries531kHz to 1,602kHz146kHz to 353kHzSURROUND8 ohmsUsable sensitivityInput sensitivity/Impedance(Loop antenna)300uV/m800uV/mPHONO2.0mV/47kohmsSelectivity22dBAndRCD.TAPE150mV/47kohmsImage rejection45dB45dBV.DISC/VCR (Audio)150mV/47kohmsIF rejection35dB35dBV.DISC/VCR (Video)1Vp-p/75 ohmsS/N40dB35dBOutput level/ImpedanceT.H.D.1.0%2.0%TAPE REC444150mV/1kohmsPower requirements120V,60Hz for USA CanadaVCR (Audio)150mV/1kohms220V,50Hz for Europe except UKMONITOR/VCR (Video)1Vp-p/lkohms240V,50Hz for UK AustraliaFrequency response110V/120V/220V/240V,50Hz/60HzPHONO (RIAA)±0.5dBconvertible for other countriesAUX/TAPE5Hz to 100kHz -3dBDimensions440W)×100H)×343(D)mmGraphic equalizer17.3×3.9x13.5 inches)Control range .±10dBWeight7.4kg(16.31bs)Center frequency .......63Hz/250Hz/1kHz/4kHz/16kHzPhono max.input level(1kHz)4120mVFor improvement purposes,specifications and design are subject to change without notice
喜欢就支持一下吧
评论 抢沙发

请登录后发表评论

    请登录后查看评论内容