

第1页 / 共35页

第2页 / 共35页

第3页 / 共35页

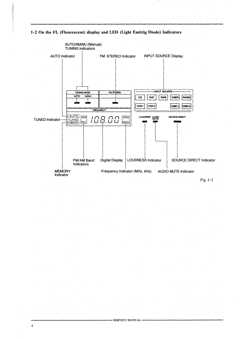
第4页 / 共35页

第5页 / 共35页

第6页 / 共35页

第7页 / 共35页

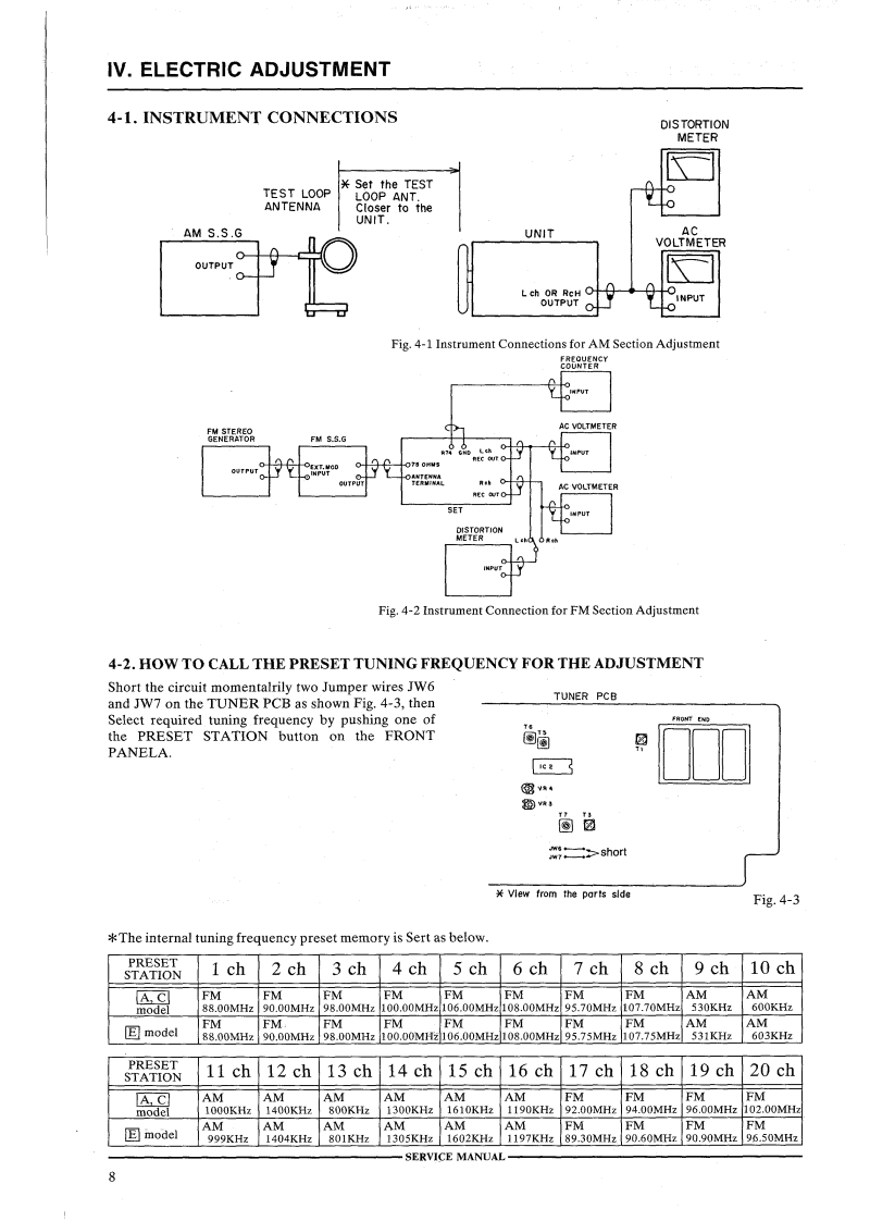
第8页 / 共35页

第9页 / 共35页

第10页 / 共35页
试读已结束,还剩25页,您可下载完整版后进行离线阅读
THE END
AKAI SERVICE MAMURLAKAIw®图图AUDIO VIDEO RECEIVERMODEL AA-V235SPECIFICATIONSAmplifier sectionQuieting sensitivityPower output (per channel)(IHF,S/N-50 dB)........16.2 dBf (Mono)/FTC (20 Hz to 20 kHz).60 W (8 ohms,0.05%)37.2 dBf (Stereo)Dynamic power output ....80 W(8 ohms),100WCapture ratio1.5dB(6 ohms).125 W(4 ohms),Selectivity (400 kHz).......60 dB120 W(2 ohms)Image rejection ..............85 dBPower bandwidth10 Hz to 60 kHz/0.3%IF rejection ................90 dBTotal harmonic distortion.0.03%(8 ohms,1kHz)Spurious rejection..........80 dBPhono max.input level ...135 mV (MM)AM suppression..........60 dBFrequency response.…5 Hz to 100 kHz (+0 dB,-4 dB)S/N (HF)............75 dB (Mono)/65 dB (Stereo)Tone controlHarmonic distortion....0.1%(Mono)/0.3%(Stereo)Treble…±8dB(10kHz)Stereo separation (1 kHz).45 dBBass…t8dB(100Hz)Frequency response........30 Hz to 15 kHz (0.5 dB)Input sensitivity/ImpedanceAM TunerPhono (MM)...............2.0 mV/47 k ohmsTuning frequency range...530 kHz to 1,610 kHzCD,Tape,etc............150 mV/47 k ohms(For USA and Canada)V.Disc/VCR (Audio).....150 mV/47 k ohms531kHz to 1620kHzV.Disc/VCR (Video).....1 Vp-p/75 ohms(For Europe)Output level/ImpedanceUsable sensitivityTape rec out150 mV/1 k ohms(AM Loop antenna)......300 uV/mVCR (Audio)...............150 mV/1 k ohmsSelectivity ................25 dBMonitor/VCR (Vidoe)...1 Vp-p/75 ohmsImage rejection....45 dBDamping factor ...............28.7 (8 ohms,1 kHz)IF rejection ...................35 dBResidual noise ..........0.5 mV (8 ohms)S/N40 dBS/NTHD…1.0%Phono (MM)..............70 dBPower requirementCD,(Source direct).........120 V,60 Hz for USA and Canada220 V,50Hz for Europe except UKChannel separation (IHF).60 dB(1 kHz)Dimensions......425(W0×156HD×368(DjmmRequired speaker impedance(16.7×6.1×14.5 inches)A or B.....8ohms to 16 ohmsA and B.…16ohmsWeight...10.1 kg (22.2 Ibs)Tuner sectionStandard accessoriesFM TunerFM antenna.ITuning frequency range ..87.5 MHz to 108.0 MHzAM loop antenna......................FM antenna plug ....…1Usable sensitivity ........11.2 dBfRemote control unit (RC-V235)Batteries for remote control unit (UM-3)...................0 perator's manual-…For improvement purposes,specifications and design are subject to change without notice.
请登录后查看评论内容