

第1页 / 共29页

第2页 / 共29页

第3页 / 共29页

第4页 / 共29页

第5页 / 共29页

第6页 / 共29页

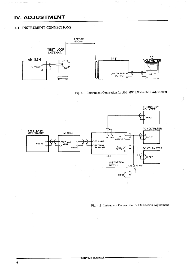
第7页 / 共29页

第8页 / 共29页

第9页 / 共29页

第10页 / 共29页
试读已结束,还剩19页,您可下载完整版后进行离线阅读
THE END
AT-93AKAI SERVICE MANUAL巴一w188.88格】曾马QUARTZ SYNTHESIZER TUNERMODEL AT-93/LSPECIFICATIONSFM sectionLW section (AT-93L only)Tuning frequency range····87.5 MHz to 108.0 MHzTuning frequency range144 kHz to 351 kHzUsable sensitivity ..1.04V(11.2dB)Sensitivity...。····.3004V/mQuieting sensitivity (S/N 50 dB)Selectivity.....55 dB (9 kHz)Mono,·.,,2.0V(17.2dB0Image rejection ratio。·,·,:45 dBStereo22uV(38.2dBIF rejection ratio37 dBCapture ratio (Wide).···,1.3dBS/N.Distortion (T.H.D.)0.4”40 dBSelectivity (+400 kHz)Wide,60dBNarrow90dBOutput levelImage rejection ratio.·..·.90dBFM.770 mV (at 100%modulation)IF rejection ratio100dBAM (MW for AT-93/L),..250 mV (at 30%modulation)Spurious rejection ratio65 dBHi-cut filter.-6 dB/10 kHzSub carrier suppression ratio..70dBBlend(Separation at 1 kHz)S/NBlend 120 dBMono (IHF-A)90 dB (at 80 dBu)Blend 210 dBStereo (IHF-BPF)80 dB (at 60 dBu)Power requirements,.····120 V,60 Hz for USA and86 dB (at 80 dBu)CanadaDistortion (T.H.D.,at 1 kHz)220 V,50 Hz for EuropeWidc·..,......,.,0.02%0Mono)/0.07%(Stereo)except UKNarrow0.08%(Mono)/0.3%(Stereo)240 V,50 Hz for UK andStereo separation (at 1 kHz)..62 dB (Wide)/55 dB (Narrow)AustraliaFrequency response0t0.5 dB (50 Hz to 15 kHz)110-120V/220-240V.50/60 Hz convertible forAM section (MW for AT-93/L)other countriesTuning frequency rangeDimensions4610×87D×344(D)mmFor USA and Canada530 kHz to 1,610 kHz(18.l×3.4×13.5 inches)For other countries531 kHz to 1,602 kHzWeight·······6.3kg(13.91bs)Sensitivity (Loop antenna)3004V/mSelectivityUSA and Canada50dB(±10kHz)Other countries40dB(±9kHz)Image rejection ratto......40 dBIF rejection ratio60dBS/N,,,.,,45 dBDistortion (T.H.D.)0.6dBFor improvement purposes,specifications and design are subject to change without notice.
请登录后查看评论内容