编号69:爱华Aiwa-ADWX999-tape-维修图纸手册

编号69:爱华Aiwa-ADWX999-tape-维修图纸手册-找手册网
编号69:爱华Aiwa-ADWX999-tape-维修图纸手册
此内容为付费资源,请付费后查看
1921
立即购买
您当前未登录!建议登陆后购买,可保存购买订单
付费资源

第1页 / 共5页

第2页 / 共5页

第3页 / 共5页

第4页 / 共5页

第5页 / 共5页
已完成全部阅读,共5
THE END
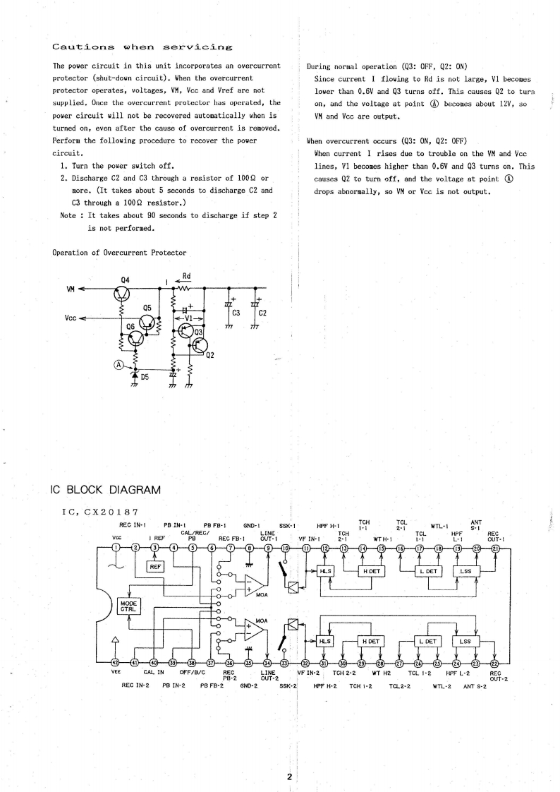
S/M Code No.89-062 DATE OF.ISSUE 8/1989-IAIWAAD-WX999SERVICEMANUAL口000OSTEREO CASSETTE DECKBASIC TAPE MECHANISM:a-14●TYPE.H,U.E,K,ZSPECIFICATIONSTypeStereo cassette tape deckRecording system AC bias (frequency 105 kHz)Track format4 tracks,2 channelsErase systemAC erasePower supplyAD-WX999E.ZMotorDC servomotor×2AC220,50/60HzHeadsRecord/playback head x 2AD-WX999K(PC-OCC coil pure amorphousAC240V.5060Hzhead)AD-WX999UErase head x 2、AC120,60Hz(Double-gap ferite head)AD-WX999HInputsLINE IN maximum inputAC120V/220V240Vsensitivity:50 mV (over 50 kO)switchable,50/60 HzOutputsLINE OUT standard output level:Power consumption400 mV (0 VU):suitable load3Wimpedance:over 50 koFrequency responseDimensions430M×140H)×313(DmmMETAL tape:20-18,000HzWeight5.4kgCrO,tape:20-17.000HzNORMAL tape:20-16,000 HzSignal-to-noise ratio73 dB (METAL tape DOLBY C NRON)Wow and flutterDeck 10.15%(according to DIN 45500)Design and specifications are subject to change without0.055%WRMS)notice.Deck 20.15%(according to DIN 45500)Dolby noise reduction and HX Pro headroom extension0.055%WRMS)manufactured under license from Dolby LaboratoriesTape speed4.8 cm/sec.(17/e ips),Licensing Corporation.HX Pro originated by Bang9.5 cm/sec (double speed)0lufsen."Dolby".the double-D symbol,and "HX PRO"are trademarks of Dolby Laboratories Licensing Corporation.AIWA Co.,Ltd.Tokyo JapanPrinted in Japan
喜欢就支持一下吧
评论 抢沙发

请登录后发表评论

    请登录后查看评论内容