

第1页 / 共62页

第2页 / 共62页

第3页 / 共62页

第4页 / 共62页

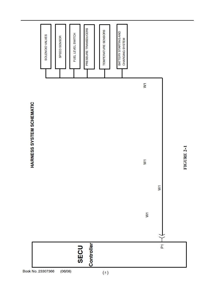
第5页 / 共62页

第6页 / 共62页

第7页 / 共62页

第8页 / 共62页

第9页 / 共62页

第10页 / 共62页
试读已结束,还剩52页,您可下载完整版后进行离线阅读
THE END
DOOSANDoosan InfracorePortable PowerIngersoll RandELECTRONIC SERVICE MANUALXP185WIRP260WIR7/517/171This manual contains important safety information.Do not destroy this manual.This manual must be available to the personnel who operate and maintain this machine.Doosan Infracore Portable PowerDoosin purchased Bobeat Company fom Ingersoll-Rand Company inP.O.Box 868 501 Sanford Ave2007.Any reference to Ingersoll-Rand Companyor use rademarks.service marks.logos.or other proprie tiry identifying marks belonginrgMocksville.N.C.27028Ingersoll-Rand Company in this maal hisrical or nominathvewww.doosanportablepower.como nature,and is not meant to siggest a cirrent affilicsion berweenIngersollRand Company and Doosan Company or the products ofB0ok:23307366(6/08)Revised (10-12)
请登录后查看评论内容