

第1页 / 共112页

第2页 / 共112页

第3页 / 共112页

第4页 / 共112页

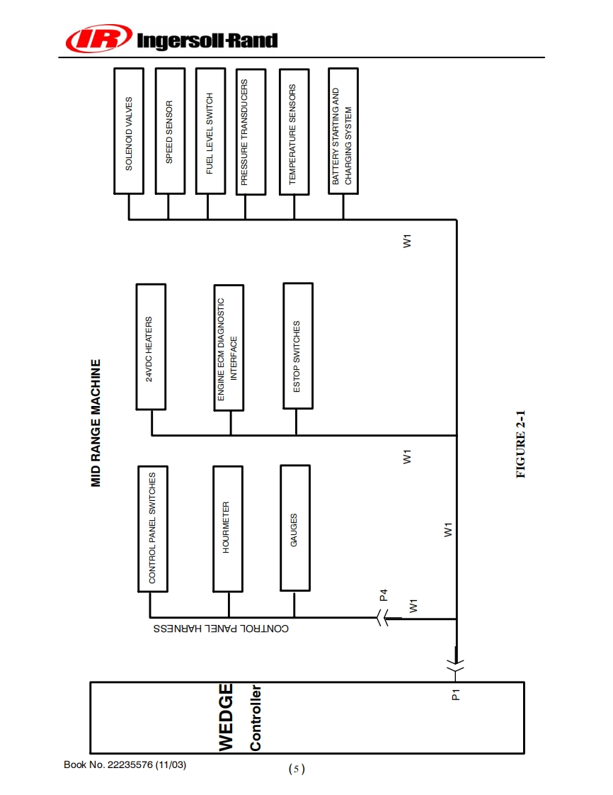
第5页 / 共112页

第6页 / 共112页

第7页 / 共112页

第8页 / 共112页

第9页 / 共112页

第10页 / 共112页
试读已结束,还剩102页,您可下载完整版后进行离线阅读
THE END
Ingersoll-RandELECTRICAL/ELECTRONICSERVICE MANUAL FORXP1060WCU9/230HP935WCU9/270MHP825WCU9/300VHP750WCU12/235XHP750WCU17/23521/215XHP700WCUHP915WCUXP1000WCUDoosan purchased Bobcat Company from Ingersoll-Rand Company in2007.Any eference toIersoil-Rand Company or e of trademarks.service marks,logos or other proprietary identyfying marks be longingto Igersol-Rand Companyn his mamal isin natre,and is not meant o suggest a current affibation beteenngersoll-Rand Company and Doosan Compay or the products ofUtility EquipmentP.O.Box 868-501 Sanford AveMocksville,N.C.27028Book No.22235576(4/06)Revised (10-12)
请登录后查看评论内容