

第1页 / 共22页

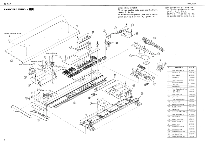
第2页 / 共22页

第3页 / 共22页

第4页 / 共22页

第5页 / 共22页

第6页 / 共22页

第7页 / 共22页

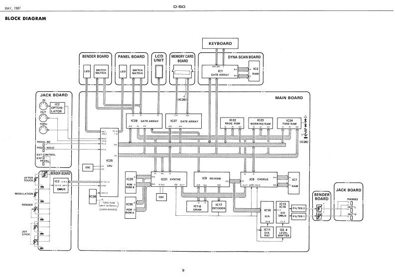
第8页 / 共22页

第9页 / 共22页

第10页 / 共22页
试读已结束,还剩12页,您可下载完整版后进行离线阅读
THE END
MAY,19870-50□-5口SERVICE NOTESFirst Edition厂76hWK3A4625ovAC Ine-k¥K8215010SPECIFICATIONS100V117220VPA1262P34491s(1497100KEYBO4D.,.:,,,,,,,,61 key.6 octa,C scae with Velocity and Afsertouch240VPA1251p45342100TUWE.…MA5TERTFINE TUNE上50cPITCH MOOULATION,,·。··LF0ENV00GnBBENOER2400 contsAFTERTDUCH24006mBENV TIME...,,PITCH T1=Tm-%TVF TI -T54m-0hTVA T1-T54rm -80RATE00004-27Ht4=4DELAY TINE0-10hCHORUS LFORATE00图-20HOUTPUT,A0I04.01BnPHONES8-150G1S1#9-Rutber Foot G-TW-88xtM1013N8-JYK821-5012POWER CON以UMPTION22W.1GW Iapan)(134491461DIMEN白CNs974x3321D111259105》(1479168}1路36'x13163:11/1GwCT.......105a2b202ACCESSORY,,......·MEMDRY CARD IRO0利O000(t23784011LED CowrDI5A55 EMBLING/分解手顺723四94)2204610m1“B.tion founLED SLR-55VC3F RED2248566刀1160282777Swhch SKHHAD39AA413160633K041502451)1224851301.Remove serews (A)Joyibek Excuttheon22221q102.Remove serews(B)JoW由ck UBJXB-2CKB,211327823724851290tEA1135535⑧-Batson dual22475086he SKHHAD039A1131636网10LED SLRSGVC3F RED23275824)131t98Roland(2nd printing OCT.'B8 B-21 Printed in JepanBC-2 CR 1
请登录后查看评论内容