

第1页 / 共28页

第2页 / 共28页

第3页 / 共28页

第4页 / 共28页

第5页 / 共28页

第6页 / 共28页

第7页 / 共28页

第8页 / 共28页

第9页 / 共28页

第10页 / 共28页
试读已结束,还剩18页,您可下载完整版后进行离线阅读
THE END
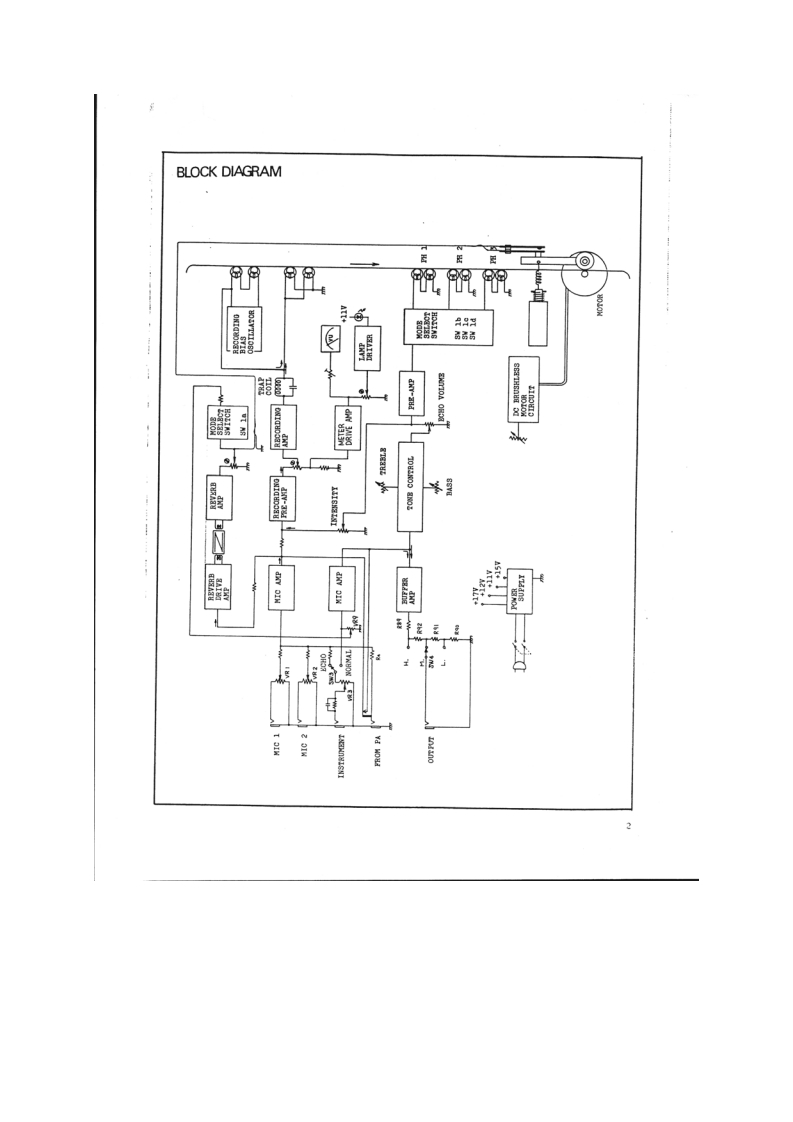
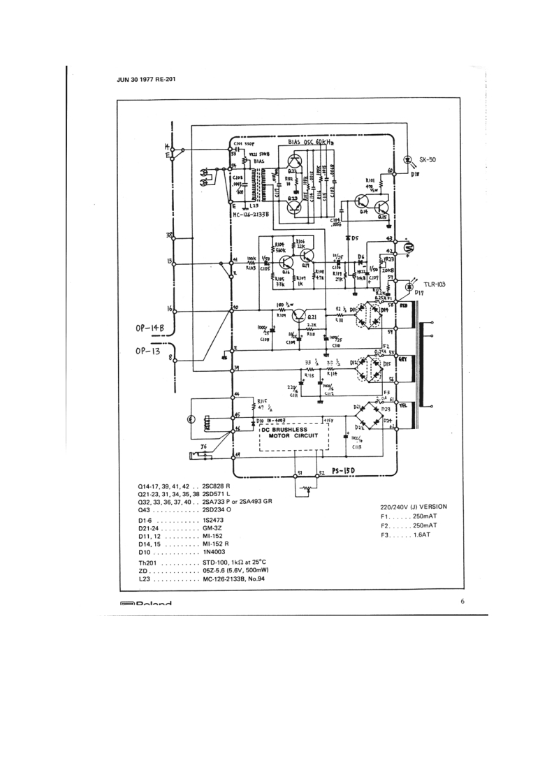
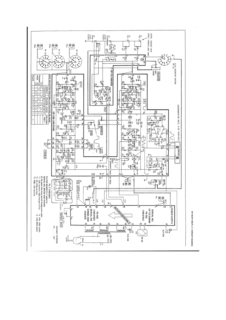
JUL301978RE-201/101ECHO CHAMBERRE-2o1/1O1SERVICE NOTESCONTENTSSPECIFICATI0Ns(E-201/101).,,·RE-2013BLOCK DIAGRAM......................................................................MINIATURE BOARD OP-13 ECHO BOARD OP-14B /FILTER BOARD PL-7.......................30P-16/0P-14B/L-7/CIRCUIT DLAGRAM..:···POWER SUPPLY PS-15D(SERIAL N0.576450A0H肛C)·PUWER SUPPLY BS-15D CIRCUIT DIAGAM ..................................................6P0wSP2LYS-15C(53IALN0.PT0576449)·7POWER SUPPLY PS-15C CIRCUIT DIACUM ................................................E-101PCB CHANGBS.....................................................................9BLoCK DIAGM .......................................................................9MINIATUHE BOARD OP-16/ECHO BOARD OP-17B FILTER BOARD PL-7 CIRCUIT DIAGRAM ....10RE-201/101以PLACEMENT11TAPC PACK CHASSIS ASSEMBLY .........................................................12ADJUSTMENT AND CHECKING1.MCHANICAL ADJUSTMNT ............................................................132.ELECTRICAL ADJUSTMENT…15PARTS .............................19PARTS LIT.21SECOND EDITION July 30,1978All of the information contained inthe first edition and the supplementis collected in this second edition.Rolandonhn8et8股g83
请登录后查看评论内容