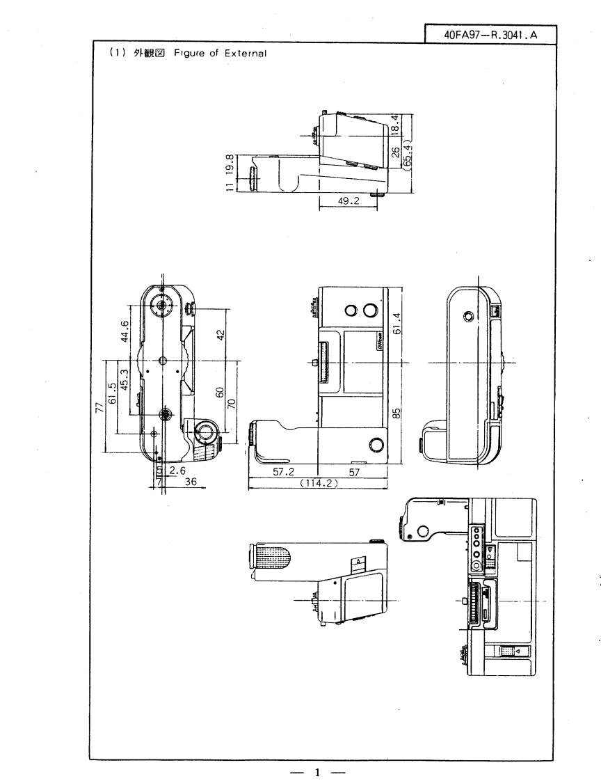
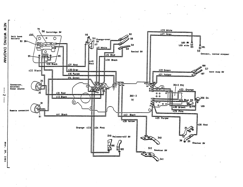
NIKON尼康数码相机MD-4维修手册零部件手册找手册网19小时前发布关注私信5.79MB167页040NIKON尼康数码相机MD-4维修手册零部件手册此内容为付费资源,请付费后查看¥19¥21黄金会员免费钻石会员免费立即购买您当前未登录!建议登陆后购买,可保存购买订单付费资源 第1页 / 共167页 第2页 / 共167页 第3页 / 共167页 第4页 / 共167页 第5页 / 共167页 第6页 / 共167页 第7页 / 共167页 第8页 / 共167页 第9页 / 共167页 第10页 / 共167页 试读已结束,还剩157页,您可下载完整版后进行离线阅读 THE ENDNikon 文本预览 MD-440FA97PART MANUAL 查看更多 收起部分 喜欢就支持一下吧收藏
请登录后查看评论内容