

第1页 / 共92页

第2页 / 共92页

第3页 / 共92页

第4页 / 共92页

第5页 / 共92页

第6页 / 共92页

第7页 / 共92页

第8页 / 共92页

第9页 / 共92页

第10页 / 共92页
试读已结束,还剩82页,您可下载完整版后进行离线阅读
THE END
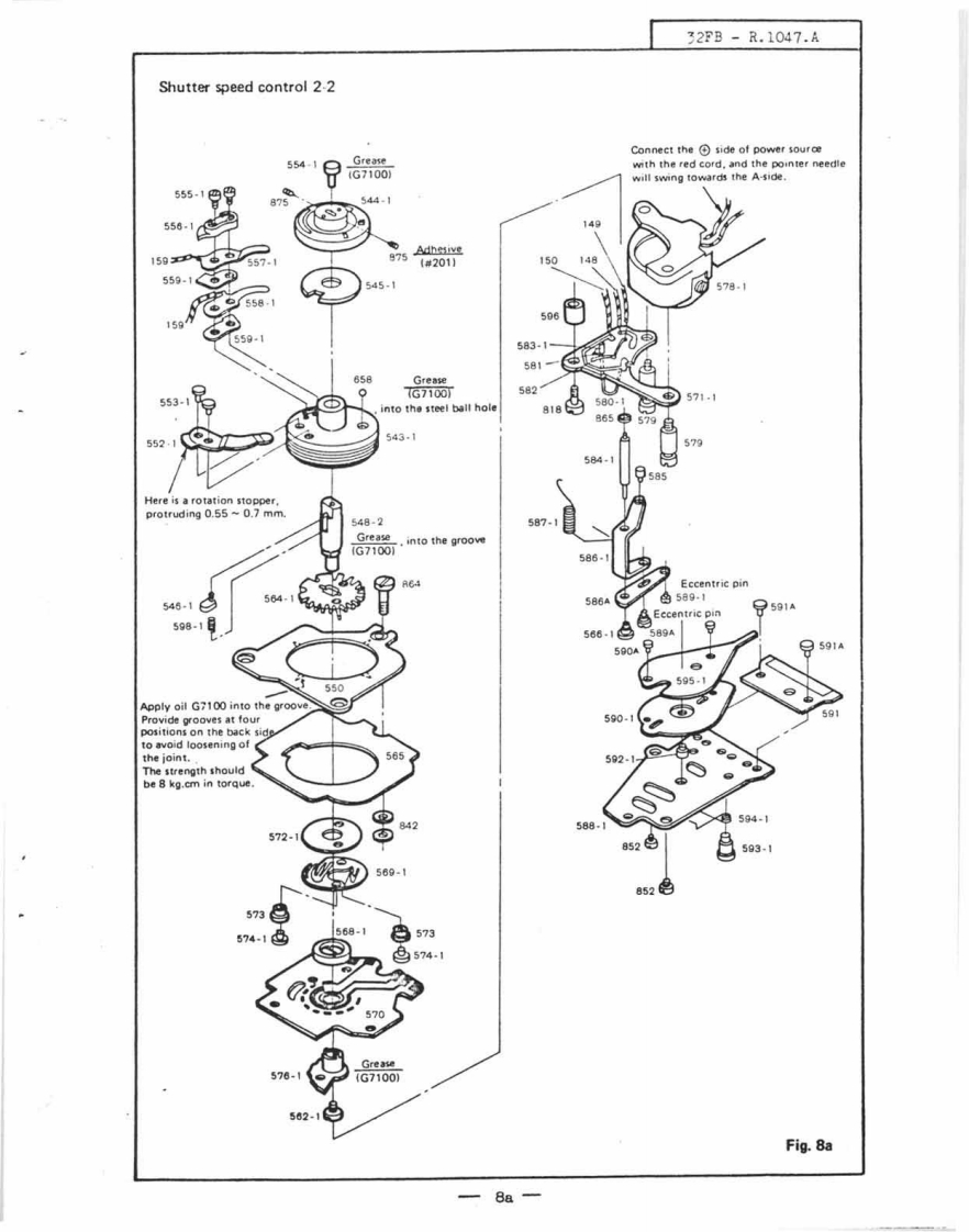
3F3-8.1047.ACONTENTSPageI11 ustrations of each parts.···(Fig,1-8a)..·,1-8aAdjustment of meter switch.....(Fig.9)......9Correct positioning of the moving-index (green)in manual setting(Fig.9).···.·9I11 ustrations of each parts,.·.(Fig.10-14).·.10-14Adjustment and check of mirror switch and shutter switch(Pig.15)·····15Illustrations of each parts....(Fig.16-24)...16-24Sectional views of main part ...(Fig.25 -33)...25-33Parts1ist,··34-89Subassembly list .90-95NOTE:Marks in the "Term of Sale"column of the parts list are;○...,.Can be supplied individuallyA.....Not supplied individually but only as subassembly、○△.,.,,Supplied either as part or subassemb1yX,····Not considered as repair part
请登录后查看评论内容