

第1页 / 共75页

第2页 / 共75页

第3页 / 共75页

第4页 / 共75页

第5页 / 共75页

第6页 / 共75页

第7页 / 共75页

第8页 / 共75页

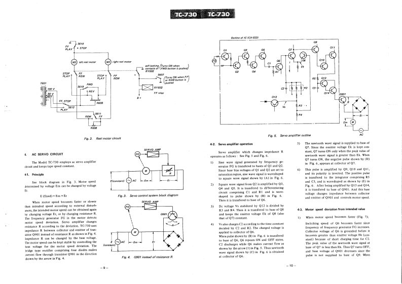
第9页 / 共75页

第10页 / 共75页
试读已结束,还剩65页,您可下载完整版后进行离线阅读
THE END
TC730EModelSONYSTEREOTAPECORDERSPECIFICATIONSPower Requirements:AC 100,110.120.127,220 orTwo AUX Inputs240V50/60Hz:100k2:-22dB{62mw)Power Consumption:AC 120 WREC/PB connectorTrack System:4-track 2-channel stereo and monoInput impedance:10k2Input level-33dB(17.4m1Ree!Size:7(18 cm)or smallerOutputs:Two LINE OutputsTape Speed:71/2 ips (19 cm/s),33/4 ips (9.5 cm/s),Load impedance:100k2Output level0dB(0.75V117/8 ips (4.8 cm/s)HEADPHONE OutputRecording Time:Tape speed4-track stereo4-track monoLoad impedance:82(with 1,800 ft.tape)71/2 ips1.5 hrs3 hrsOutput level(19 cm/s)Pe2.mV)at LEVEL33/4 ips3 hrs6hrs-28dB30.8mW)】(9.5 cm/s)at LEVEL·2Frequency Response:(with SONY SLH tape)REC/PB connector2030.000Hzat71/2ips(19cm/sOutput impedance:10k2Output level:0dB0.75V)20~20,000H2at33/4ip5(9.5cmlsTwo EXT SPKR(with standard tapelLoad impedance:8220~25,000 Hz at 71/2 ips (19 cm/s)Output level:17dB(5.4V2017.000Hzat334ips(9.5cm/sMaximum30~9.000Hzat17/8ips(4.8cm/sPower Output:3.7 W x 2 with built-in speakers15 W x 2 with external speakersSignal-to-Noise Ratio:56 d8 (with SLH tapel53 dB (with standard tapelBuilt-in Speaker:4×6(10x15cmlX2Flutter and Wow:0.06%at 71/2 ips (19 cm/s)impedance 320.1%at3314ips(9.5cm/sSemiconductors:51 transistors,25 diodes and 1 integrit ed circuit0.2%at 17/gips(4.8 cm/s)Dimensions:21w)×19518H)×815116”(D)Harmonic Distortion:1.2%533×498×227mlRecordingWeight:51 Ib 13 oz (23.5 kg)Bias Frequency:Approx.160 kHzInputs:Two MIC InputsImpedance;low impedanceSONYMaximum sensitivity -72 dB (0.2 mV)SERVICE MANUAL3
请登录后查看评论内容