

第1页 / 共20页

第2页 / 共20页

第3页 / 共20页

第4页 / 共20页

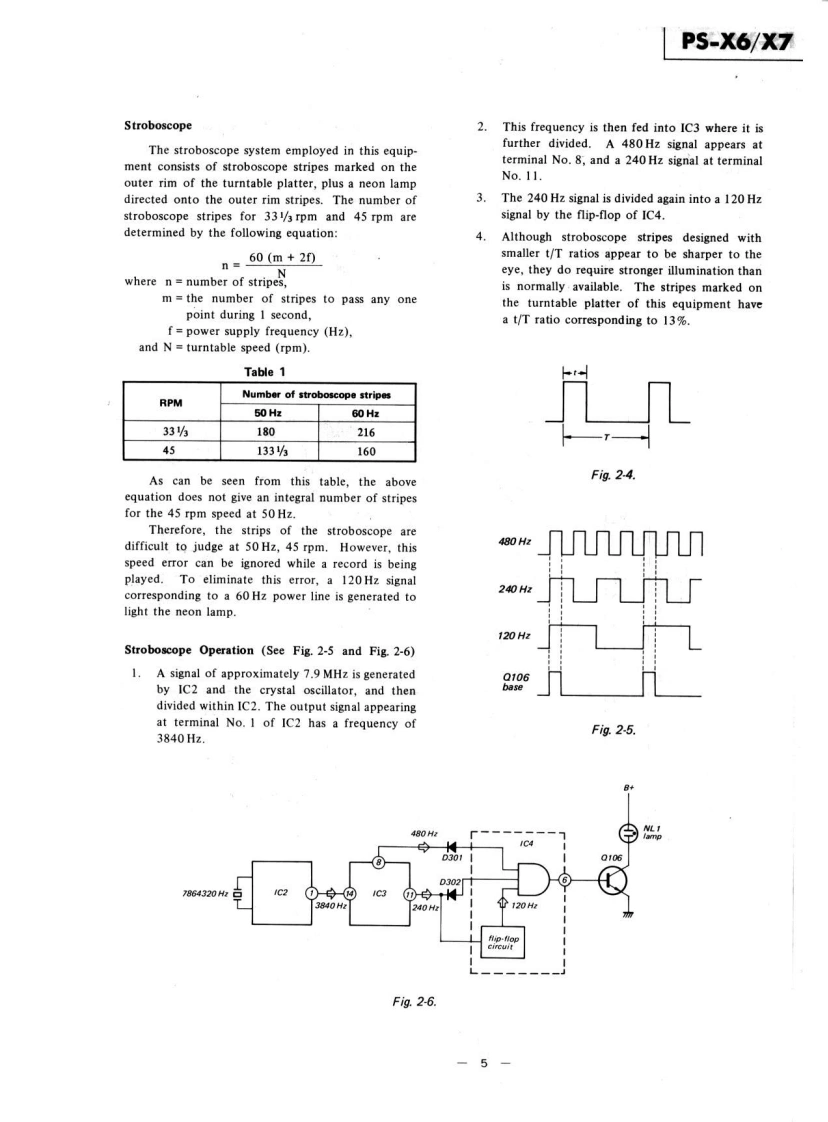
第5页 / 共20页

第6页 / 共20页

第7页 / 共20页

第8页 / 共20页

第9页 / 共20页

第10页 / 共20页
试读已结束,还剩10页,您可下载完整版后进行离线阅读
THE END
FULL AUTOMATICSTEREO TURNTABLEPS-X6/X7SYSTEMUS ModelCanadian ModelAEP ModelUK ModelSUPPLEMENTE ModelFile this supplement with the service manual.No.2May,1978CIRCUIT DESCRIPTIONTABLE OF CONTENTSTitlePage1.Operation of Servo Amplifier Circuit .....................................................22.Maintaining Forward Rotation……43.System Control Circuit………63-1.Operation when POWER Switch is turned on..........................................63-2.Operation during Auto-start .......................83-3.Operation if START/STOP Switch (S5)is touched during Play............................93-4.Operation during Auto-return ....................113-5.Repeat Operation.......................133-6.Operation if START/STOP Switch is touched during Lead-in..............................154.Hall Motor…17SONYSERVICE MANUAL
请登录后查看评论内容