

第1页 / 共112页

第2页 / 共112页

第3页 / 共112页

第4页 / 共112页

第5页 / 共112页

第6页 / 共112页

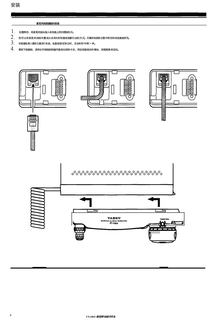
第7页 / 共112页

第8页 / 共112页

第9页 / 共112页

第10页 / 共112页
试读已结束,还剩102页,您可下载完整版后进行离线阅读
THE END
F-10操作手册MICRO MOBILE八重洲无线电株式会社东日果区中日43-8,编534YAESU USA17210 Eward.Rd.ContoCA 90003.USAYAESU EUROPE B.V.PO.Box75s1ii格Ns对cholTheNctatandsYAESU UK LTD.国汉温W尔克洛斯太阳2单元编3O230日YAESU GERMANY GbHAm KronbergerHang 2D-824 Schwabach.GomanYAESU HK LTD.香港九龙尖沙用东莫适道任沙加中心1树
请登录后查看评论内容