clavioline维修电器原理图说明书手册

clavioline维修电器原理图说明书手册新质力文库 - 聚焦新质生产力发展的数字化知识库_行业洞察 / 理论成果 / 实践指南免费下载新质力文库
clavioline维修电器原理图说明书手册
此内容为付费资源,请付费后查看
2232
立即购买
您当前未登录!建议登陆后购买,可保存购买订单
付费资源

第1页 / 共1页
已完成全部阅读,共1
THE END
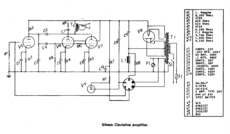
1Hegon前8.2000hm5270g620hms620OhmS470%c39以V88,200Ohms2.2 NegohmT i,700Ohms1.000OhmSc874.700Ohms120mF0.25YR02F0.600Y50护4孙5州FD。500Y50YSI50MFD.50V.003MFD.600y20MF0。450V20MF0.50#35HFD.350VRiGA-40-PX-3740GA-10-C2 AMP.TYPE 3AG有明海0f47SPST SWITCH6W56V6G/GT6V6G/GT5V3G/GT0A2Gibson Clavioline ampllfier.
喜欢就支持一下吧
评论 抢沙发

请登录后发表评论

    请登录后查看评论内容