

第1页 / 共30页

第2页 / 共30页

第3页 / 共30页

第4页 / 共30页

第5页 / 共30页

第6页 / 共30页

第7页 / 共30页

第8页 / 共30页

第9页 / 共30页

第10页 / 共30页
试读已结束,还剩20页,您可下载完整版后进行离线阅读
THE END
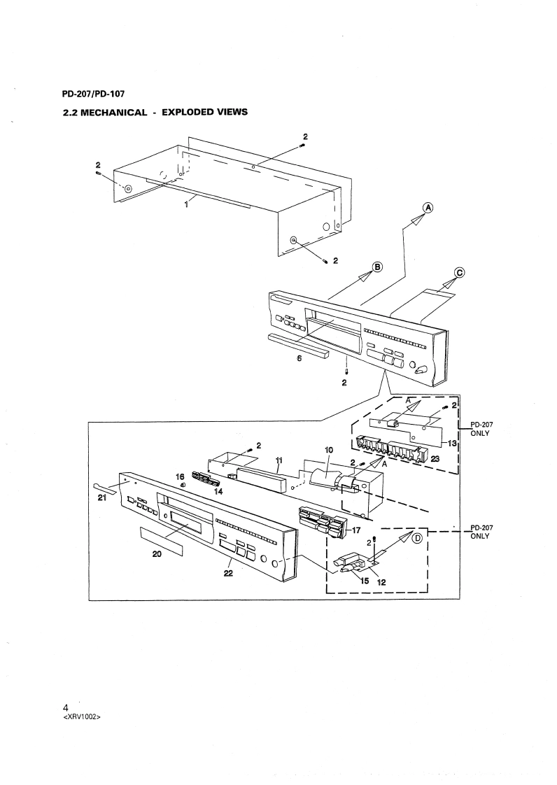
PioneerServiceManualORDER NUMBER:XRV1002COMPACT DISC PLAYERPD-207PD-207PD-107PD-107THIS MANUAL IS APPLICABLE TO THE FOLLOWING MODELS AND TYPES.TypeModelPower RequirementPD-107|PD-207WYXK00220-240VACWXK00220-240VACCONTENTS1.SAFETY INFORMATION-LABEL CHECK2.EXPLODED VIEWS AND PARTS LIST3.SCHEMATIC DIAGRAM104.PCB CONNECTION DIAGRAM5.PCB PARTS LIST6.ADJUSTMENT217 GENERAL INFORMATION -BLOCK DIAGRAMB.PANEL FACILITIES AND SPECIFICATIONS30PIONEER ELECTRONIC CORPORATION4-1,Meguro 1-Chome,Meguro-ku,Tokyo 153,Japan.PIONEER ELECTRONIC (EUROPE)N.V.Haven 1087,Keetberglaan 1,9120 Melsele,Belgium.PIONEER ELECTRONICS SERVIVE INC.P.O.Box 1760,Long Beach,CA90801-1760,U.S.A.PIONEER ELECTRONICS ASIACENTRE PTE.LTD 501 Orchard Road,10-00 Lane Crawford Place,Singapore 0923.C PIONEER ELECTRONICS TECHNOLOGY (UK)LTDNOVEMBER 1998
请登录后查看评论内容